新闻动态

  • 压力变送器指示偏低故障维修案例

    压力变送器是工业自动化中广泛使用的关键测量设备,其核心功能是直接测量单点的压力值,由于其灵活性和高精度,压力变送器被广泛应用。

    2025-08-15 科威

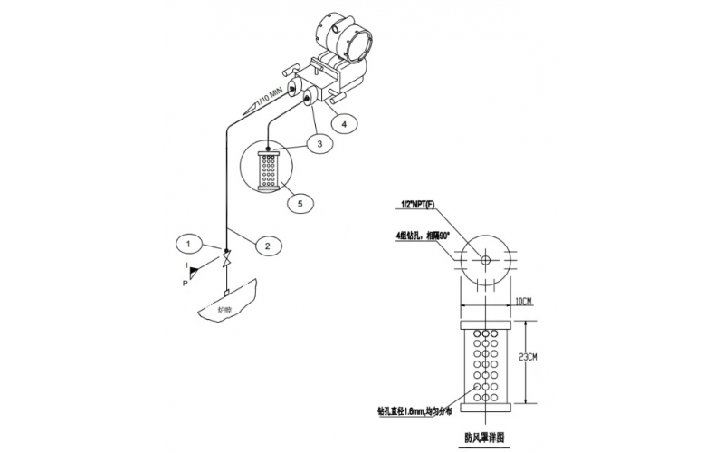
  • 微差压变送器防风罩

    为减少外界气流和环境波动对微差压变送器测量精度的影响,可以在微差压变送器负压侧取压口处安装一段向下的引压管并安装防风罩,以下是防风罩在微差压变送器上的安装示意图:

    2025-08-06 科威

  • 压力变送器出现零点漂移,温度变送器很少出现等点漂移原因是?

    压力变送器和差压变送器在工业应用中经常要根据现场条件调整其测量范围,以适应不同的安装位置和测量条件。例如,在测量封闭容器液位时,如果气相介质容易冷凝,会导致进入变送器导压管及负压室的都是冷凝液,从而引起测量误差:为了解决这个问题,需要使用负迁移,使变送器等点由负差压开始,以满足使用要求。

    2025-08-04 科威

  • 磁致伸缩液位计技术优势说明

    磁伸缩液位计是高精度、高可靠性的创新型产品,解决极恶劣工况下的液位、界面精确测量。由于磁致伸缩技术决定了其测量介质不受温度、压力、介电常数等因素变化的影响,其高精度、高稳定性、免维护等优点很好的替换和补充了传统电浮筒、差压变送器、雷达等其他液位产品在现场应用中的缺陷,故广泛应用于各种液位、界面的高精度监测。

    2025-06-09 科威

  • 液位变送器的零点迁移问题

    液位变送器的迁移是指在实际应用中,由于安装位置、介质特性或隔离液等因素的影响,导致差压变送器测量的液位与实际液位存在偏差。为了使变送器能够正确指示液位高度,需要对变送器进行迁移处理,包括无迁移、负迁移和正迁移三种情况。所谓“迁移”,是在量程不变的情况下,将变送器的测量范围进行移动。

    2025-06-09 科威

  • 压力变送器的正迁移、负迁移、无迁移?

    变送器的迁移为负迁移,正迁移,无迁移这三个。那么什么情况下是正迁移,负迁移,什么情况下是无迁移。 正迁移向正方向移动,负迁移向负方向移动,而且移动的距离即为迁移量。 因此,正、负迁移的实质是通过调校变送器,改变量程的上、下限值,而量程的大小不变。 也可以这样记忆:当输入压力为零时 (0%),输出电流信号也为零 (0%),为无迁移;当输入压力为零时 (0%),输出电流信号为正向,大于工作零点,为负迁移;当输入压力为零时 (0%),输出电流信号为负向,小于工作零点,为正迁移。

    2025-06-05 科威

  • 五阀组的使用知识分享

    五阀组(通常指由五个阀门组成的阀门组,常见于压力测量、差压变送器等仪表管路中)的正确使用对工业流程的安全和测量精度至关重要。

    2025-05-30 科威

  • 差压变送器正负压侧如果接反,如何操作?

    修改路径: Parameterize---Sensor Setup----Pressure Polarity---Pressure Input,将 Direct 改为:Reverse 此时显示屏上会多⼀个图标,如下图红圈处。

    2025-04-25 科威

首页
产品
新闻
联系