热风炉调节自动控制系统故障分析总结分享
2023-02-27 科威
软启动器典型应用电路解析
2023-02-15 科威
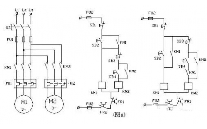
电动机控制线路故障查找方法
2023-02-06 科威
关于电动机启动及降压启动器知识介绍分享
2023-01-06 科威
开关柜熔断器的作用知识介绍
2023-01-05 科威
重要的测量点增加信号隔离器的必要性
2023-01-03 科威
常见变频器故障诊断与处理分享
2022-12-30 科威
中压开关柜主要元件种类
2022-12-29 科威