电压互感器固定安装知识介绍
2022-10-25 科威
电力变压器绕组温度会低于油面温度吗?
2022-10-10 科威电气
继电保护也会犯浅显错误
2022-08-23 科威电气
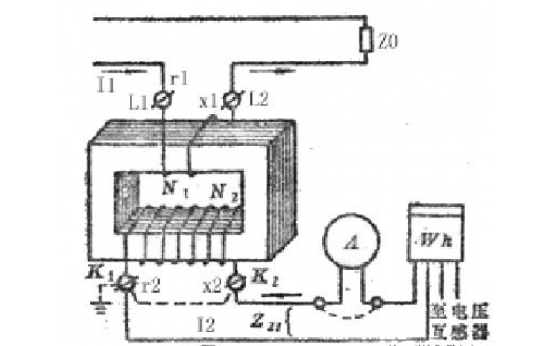
电压互感器与电流互感器的区别介绍
2022-08-22 科威电气
变压器绕组温度会低于油面温度吗?
2022-07-26 科威电气
零序保护和间隙保护,不需要随中性点运行状态进行投退
2022-07-16 科威电气
变压器差动保护以及电流互感器极性交流问答
2022-06-30 科威电气
KWBPQ系列变频器常见故障分析知识分享
2022-05-23 科威电气