新闻动态

  • 475HART手操器菜单翻译

    475HART手操器菜单翻译

    2024-11-08 科威

  • 酸性气体差压式流量计积液堵塞装置联锁

    硫磺B装置清洁酸性气量开始波动。16:14:10硫磺A装置由于FT-04A/B低低报警,三取二低低联锁16:18:39停炉。

    2024-10-11 科威

  • 切断阀突然关闭故障原因分析

    6月24日09:42,K-102CO2压缩机四段出口管线上安全阀起跳,四段出口流量计FT-137无指示,经现场确认,流量计无指示是由K-102四段出口至汽提塔入口切断阀HV-02关闭造成。仪表人员更换电磁阀并进行调校后,12:00交付三厂工艺人员使用。该阀关闭,造成尿素装置停车封塔4小时。

    2024-09-20 科威

  • 压力低低触发加热炉燃料气联锁

    下午蒸馏常减压炉燃料气快速断阀关闭,瓦斯压力低低触发加热炉燃料气联锁,工艺应急处理比较及时。仪表车间到现场检查发现常压炉燃料气切断阀供电回路掉电导致装置联锁,车间安排立即恢复供电,配合恢复生产,仪表车间在检查线路完未发现异常后立即送电恢复,装置恢复正常。

    2024-09-04 科威

  • 压力表、压力开关、数字仪表的调校注意事项

    调校前准备 ①检查被校仪表外观,铭牌应完整、清楚,并注明型号、规格、位号等,应标记高、低压容室,表涂层完好、无锈蚀,内部零部件完整无损,无影响使用和计量性能的缺陷。

    2024-08-23 科威

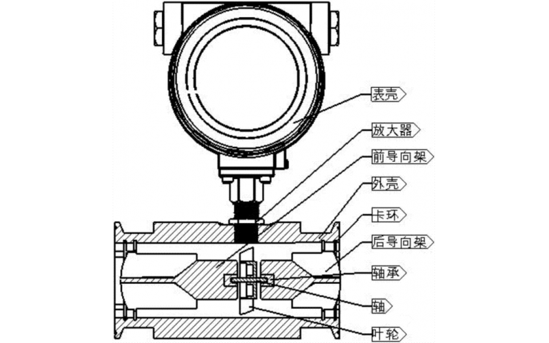
  • 涡轮流量计显示流量为零

    涡轮流量计简介: 涡轮流量计一般由传感器和显示仪两部分组成,也可做成整体式。 涡轮流量计和容积式流量计、科里奥利质量流量计称为流量计中三类重复性、精度最佳的产品,作为十大类型流量计之一,其产品已发展为多品种、多系列批量生产的规模。

    2024-08-14 科威

  • 除盐水泵减小电流后流量计显示增加

    涡街流量计是根据卡门涡街原理研究生产的测量气体、蒸汽或液体的体积流量、标况的体积流量或质量流量的体积流量计。 涡街流量计特点是压力损失小、量程范围大、精度高,在测量工况体积流量时几乎不受流体密度、压力、温度、粘度等参数的影响。 涡街流量计无可动机械零件,因此可靠性高、维护量小、仪表参数能长期稳定。涡街流量计采用压电应力式传感器,可在-20°℃~+250°℃的工作温度范围内工作。

    2024-08-05 科威

  • 微量CO2分析仪故障处理案例:一周漂移0.2vpm,如何解决?

    某大厂PSA装置使用了测量氢气产品中的杂质CO2,工艺控制指标在0.15vpm,这台仪表在投运后出现持续漂移,CO2测量值每周平均漂移0.2vpm,尽管现场维护人员采取了标定的办法来解决问题,但显然这并不是最佳解决方案。

    2024-08-02 科威

首页
产品
新闻
联系