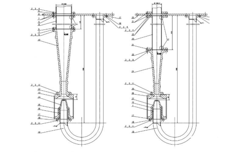
注油器工作原理知识分享
2022-06-20 科威设备
渐开线齿轮的变位(齿廓偏移)知识分享
钢铁厂空压机冷却水投用步骤分享
2022-06-17 科威设备
KS-BJ系列热电偶常见故障及排除方法分享
2022-06-17 科威自控
接地故障,是小电流接地系统相间故障的罪魁祸首
2022-06-16 科威电气
安全和控制系统中阀门的预期寿命
2022-06-16 科威阀门
电厂知识|汽轮机大轴差点干报废
2022-06-16 科威
带电更换(安装)无外间隙氧化锌避雷器
2022-06-15 科威电气